广东省2026年4月自考将于今天14点开始报考!(附报考流程)
《自考视频课程》名师讲解,轻松易懂,助您轻松上岸!低至199元/科!
【导读】各位广东自考生,请注意啦!广东省2026年4月自学考试网上报考将于今天(3月3日)14点正式开始进行,考试时间将于4月11-12日举行。具体相关事项如下:

一、报考时间
考生报考时间:3月3日14:00至3月6日17:00;
缴费时间:3月4日10:00至3月7日17:00
二、考试时间
4月考试时间:4月11日至4月12日(上午9:00 - 11:30,下午14:30 - 17:00;)
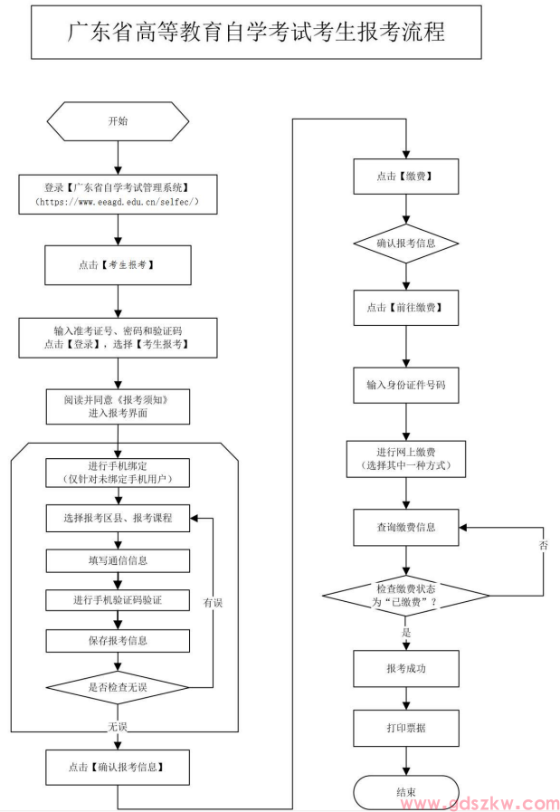
三、报考流程
一、登录报考系统
登录广东省自学考试管理系统——“考生报考”网址:https://www.eeagd.edu.cn/zkbk/login/login.jsp

二、输入考生号/准考证和密码、验证码登录

三、点击左侧菜单栏的“考生报考”,点击“我已阅读并同意”

四、阅读重要提示

五、选择考试地区
考生根据自身情况选择考试区县,(比如你在深圳市罗湖区,地市选“深圳市”,考试县区选“罗湖区”)。
因部分县区考场紧张,若报考较晚可能会导致在该县区无法报考,考生可选择在其他县区报考。

六、输入报考的科目代码
在“报考科目信息”栏按照提示输入科目代码,点击“输入报考科目”按钮即可选择该报考科目,系统会根据开考时间安排,自动将报考科目填入对应时间节点。

七、获取验证码,点击“保存”信息
考生在未确认报考前可以通过点击“保存报考信息”按钮保存当前填报的科目,也可随时点击“删除科目”按钮删除该按钮前对应的已选课程。

八、检查无误之后,“确认报考信息”
当考生确定所填报的科目信息无需再更改时,点击“确认报考信息”按钮,对所报课程进行确认。(注意:确认报考科目才算锁定考场,一旦确认,不得增加、删减或者更改。)

九、检查是否已经确认报考信息

十、点击缴费
缴费通道在第二天10点以后开放,即 3 月 4 日上午10点,需要登录网站进行缴费。

十一、检查缴费情况(缴费成功即报考成功)


四、2026年4月广东自考开考科目查询

五、2026年4月广东自考考试教材查询

六、附件
1.广东省2026年4月自学考试报名报考流程图
2.广东省2026年4月自学考试在线报名操作指引
3.广东省高等教育自学考试电子相片采集标准
4.广东省高等教育自学考试考场规则
5.自学考试人脸识别绑定手机及重置密码操作指引
6.各地市自学考试办公室官网、公众号和咨询电话一览表
【识别下方二维码查看以上附件】

七、报名报考问题咨询
对以上内容有疑问?
?
【可添加下方助学老师咨询】

报名指导 / 自考解答
备考资料 / 学历规划
以上就是关于《广东省2026年4月自考将于今天14点开始报考!(附报考流程)》的全部内容,如需了解更多学历提升、自考报名报考时间、自考报名流程、自考院校和专业查询、开考时间安排、自考课程、自考教材购买等的相关问题,可随时添加广东自考网《专业老师微信》进行在线沟通了解哦~
-
下一篇:暂无
《广东自考网》免责声明:
1、由于考试政策等各方面情况的调整与变化,本网提供的考试信息仅供参考,最终考试信息请以省考试院及院校官方发布的信息为准。
2、本站内容部分信息均来源网络收集整理或来源出处标注为其它媒体的稿件转载,免费转载出于非商业性学习目的,版权归原作者所有,如有内容与版权问题等请与本站联系。联系邮箱:812379481@qq.com






















